文库 机械管理与电气自动化 电气工程

基于PLC除尘设备控制系统的设计-12644字.docx

2022及前全 DOCX   46页   下载0   2026-01-15   浏览2   收藏0   点赞0   评分-   16698字   20.00
温馨提示:当前文档最多只能预览 10 页,若文档总页数超出了 10 页,请下载原文档以浏览全部内容。
基于PLC除尘设备控制系统的设计-12644字.docx 第1页
基于PLC除尘设备控制系统的设计-12644字.docx 第2页
基于PLC除尘设备控制系统的设计-12644字.docx 第3页
基于PLC除尘设备控制系统的设计-12644字.docx 第4页
基于PLC除尘设备控制系统的设计-12644字.docx 第5页
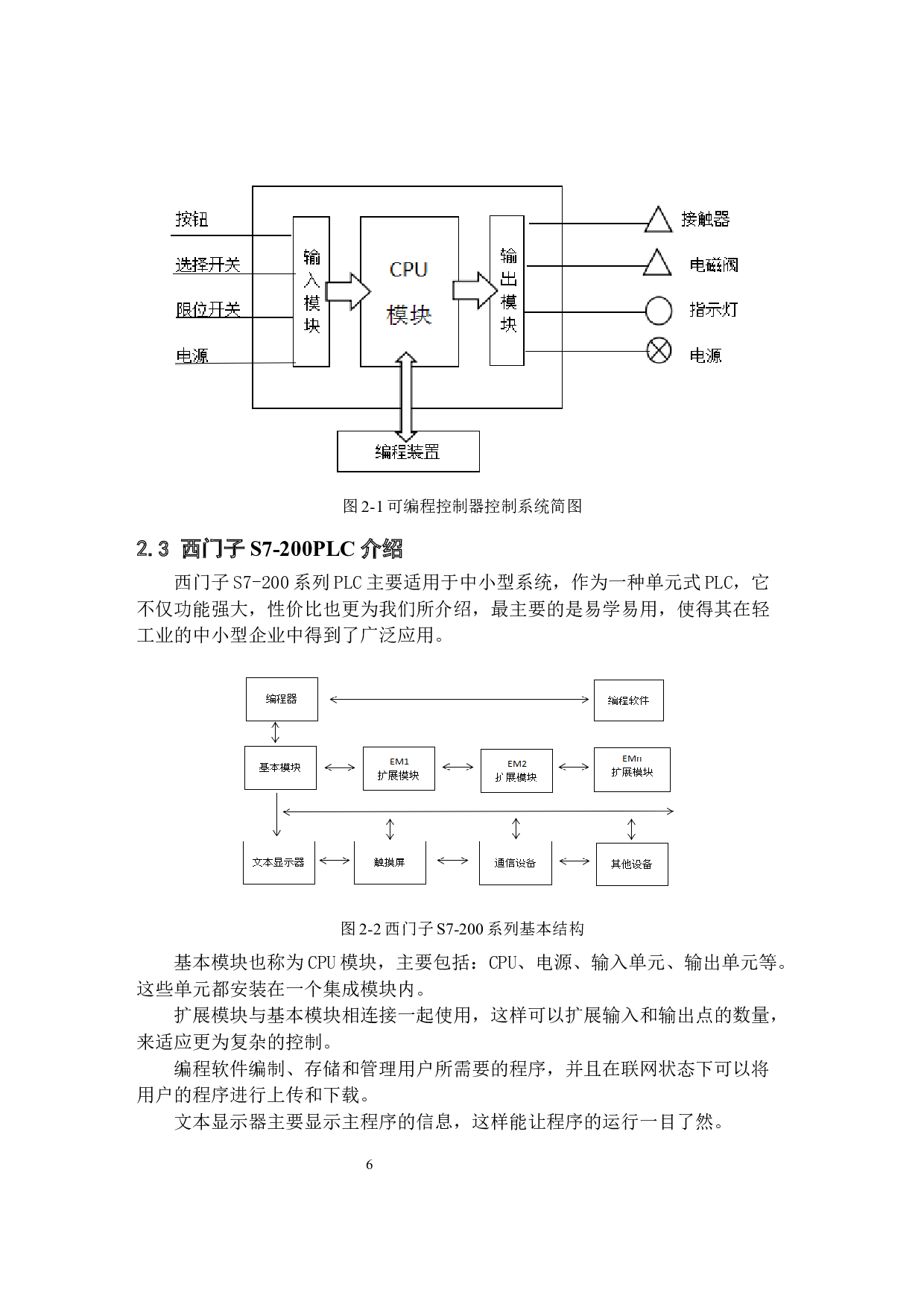
基于PLC除尘设备控制系统的设计-12644字.docx 第6页
基于PLC除尘设备控制系统的设计-12644字.docx 第7页
基于PLC除尘设备控制系统的设计-12644字.docx 第8页
基于PLC除尘设备控制系统的设计-12644字.docx 第9页
基于PLC除尘设备控制系统的设计-12644字.docx 第10页
剩余36页未读, 下载浏览全部
Abstract At present, the phenomenon of "industrial dust" frequently appears in most cities of north China, which causes serious traffic inconvenience. The phenomenon is believed to be caused by excessive dust and fine dust emitted by human activities. These dust particulate materials not only reduce the visibility of the atmosphere, resulting in inconvenient transportation, but also because of its small diameter, strong adsorption capacity, can be used as a "vector" for many viruses and bacteria
基于PLC除尘设备控制系统的设计-12644字.docx