文库 计算机 电子信息工程

数控调频发射器的设计-6170字.pdf

2022及前全 PDF   23页   下载0   2026-01-15   浏览0   收藏0   点赞0   评分-   12110字   20.00
温馨提示:当前文档最多只能预览 10 页,若文档总页数超出了 10 页,请下载原文档以浏览全部内容。
数控调频发射器的设计-6170字.pdf 第1页
数控调频发射器的设计-6170字.pdf 第2页
数控调频发射器的设计-6170字.pdf 第3页
数控调频发射器的设计-6170字.pdf 第4页
数控调频发射器的设计-6170字.pdf 第5页
数控调频发射器的设计-6170字.pdf 第6页
数控调频发射器的设计-6170字.pdf 第7页
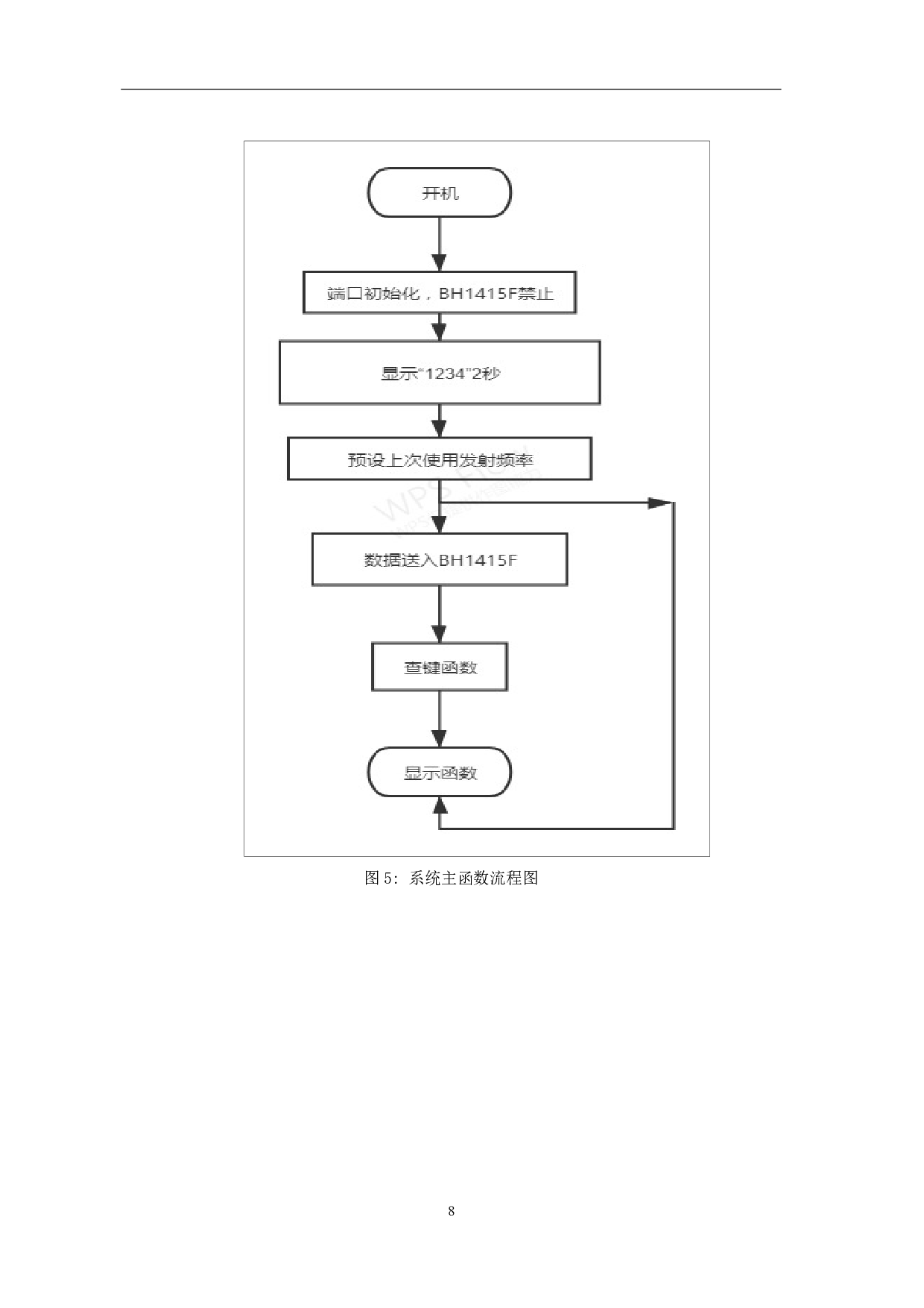
数控调频发射器的设计-6170字.pdf 第8页
数控调频发射器的设计-6170字.pdf 第9页
数控调频发射器的设计-6170字.pdf 第10页
剩余13页未读, 下载浏览全部
Abstract The design mainly uses a new type of MCU AT89C52 and a new type of digital control wireless FM signal transmitter ASIC BH1415F. It can effectively realize the connection of each module system, including MCU control module, matrix keyboard module, FM transmitter module, display module, RF module and so on. After the organic combination of software and hardware, the system is not only simple in overall structure, stable in frequency, good in signal, and can set the size of transmitti
数控调频发射器的设计-6170字.pdf