文库 美术艺术与产品设计 产品设计

自动汤圆机设计-1076字.pdf

PDF   25页   下载0   2025-10-27   浏览52   收藏0   点赞0   评分-   9147字   6积分
温馨提示:当前文档最多只能预览 10 页,若文档总页数超出了 10 页,请下载原文档以浏览全部内容。
自动汤圆机设计-1076字.pdf 第1页
自动汤圆机设计-1076字.pdf 第2页
自动汤圆机设计-1076字.pdf 第3页
自动汤圆机设计-1076字.pdf 第4页
自动汤圆机设计-1076字.pdf 第5页
自动汤圆机设计-1076字.pdf 第6页
自动汤圆机设计-1076字.pdf 第7页
自动汤圆机设计-1076字.pdf 第8页
自动汤圆机设计-1076字.pdf 第9页
自动汤圆机设计-1076字.pdf 第10页
剩余15页未读, 下载浏览全部
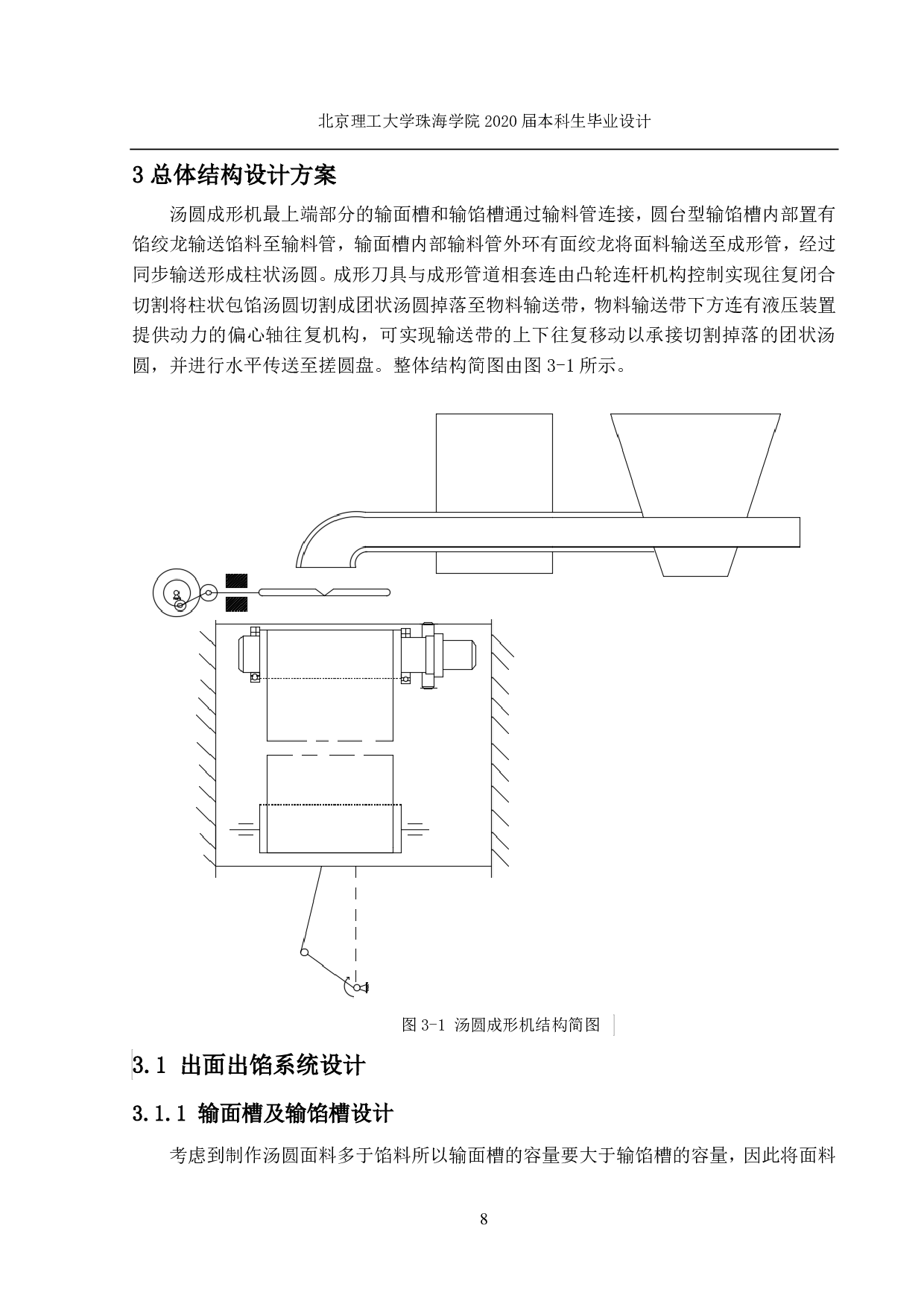
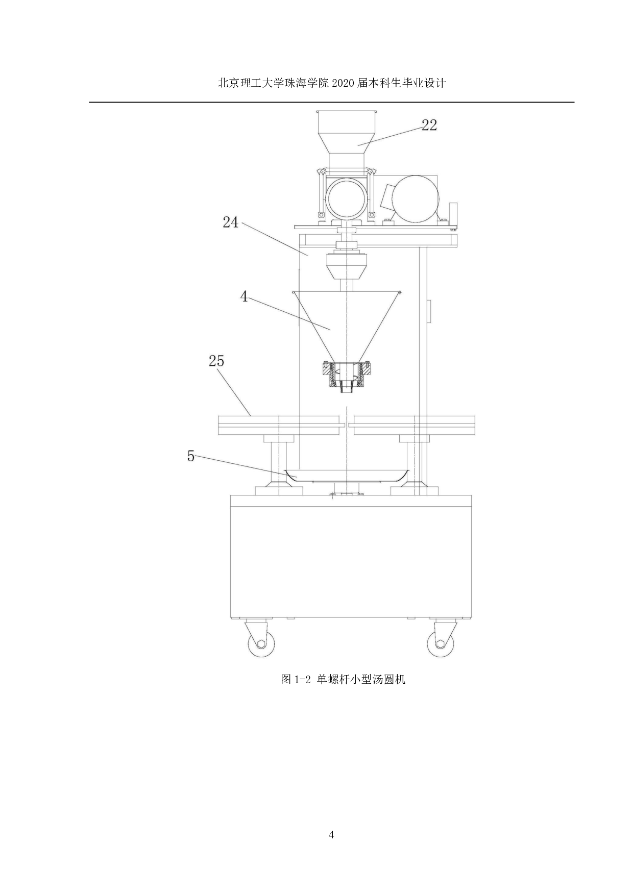
北京理工大学珠海学院 2020届本科生毕业设计 2 柱状面管保持 不闭合的状态 。此举既有便于馅料管中的馅料进入 不包心柱状 面管中,又 能防护不包心柱状 面管从环形通道 挤出后收缩, 同时也对 位于成形机下端部分的 剪切成 型提供便利,提高了汤圆成形的成形品质 。 图1-1 双螺杆中型汤圆机 该汤圆机结构特点 如下所述。 北京理工大学珠海学院 2020届本科生毕业设计 3 该双螺杆输面系统包括:主输面螺杆、 副输面螺杆 、馅管帽以及组合面嘴结构 。组 合面嘴结构与 成形馅管帽之间 组合形成环形 柱状通道,成形机中的 馅管
自动汤圆机设计-1076字.pdf