文库 地质与地理 地理

基于多源遥感数据的森林火灾火点监测-13607字.docx

2022及前全 DOCX   23页   下载0   2026-01-15   浏览0   收藏0   点赞0   评分-   19317字   20.00
温馨提示:当前文档最多只能预览 10 页,若文档总页数超出了 10 页,请下载原文档以浏览全部内容。
基于多源遥感数据的森林火灾火点监测-13607字.docx 第1页
基于多源遥感数据的森林火灾火点监测-13607字.docx 第2页
基于多源遥感数据的森林火灾火点监测-13607字.docx 第3页
基于多源遥感数据的森林火灾火点监测-13607字.docx 第4页
基于多源遥感数据的森林火灾火点监测-13607字.docx 第5页
基于多源遥感数据的森林火灾火点监测-13607字.docx 第6页
基于多源遥感数据的森林火灾火点监测-13607字.docx 第7页
基于多源遥感数据的森林火灾火点监测-13607字.docx 第8页
基于多源遥感数据的森林火灾火点监测-13607字.docx 第9页
基于多源遥感数据的森林火灾火点监测-13607字.docx 第10页
剩余13页未读, 下载浏览全部
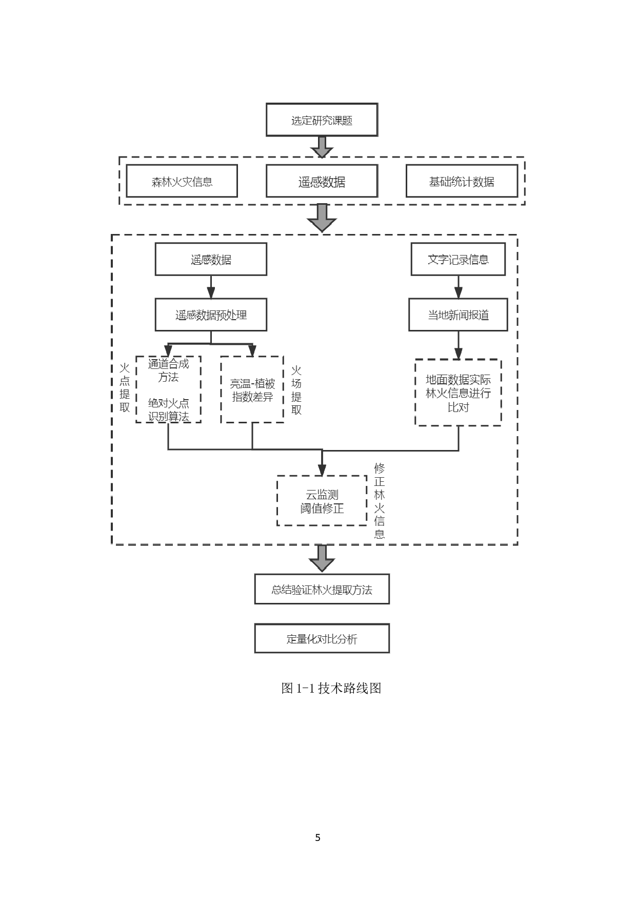
【 摘要 】 森林火灾的发生对自然界的伤害不可估量,随着遥感技术的提升,其对森林火灾的监测和检测尤为重要,现行多为单一的遥感数据对其的研究,无法达到高时间分辨率、 高空间 分辨率、高光谱分辨率的监测到火灾发生时的具体情况。本文将四川省凉山彝族自治州作为的研究区域,结合多源遥感数据进行分析比较,使用 M ODIS和 Sentinel-2 遥感卫星数据为数据源,对火灾火点进行识别提取,再通过精度评价对这两个卫星在火点提取领域进行研究,后使用Landsat-8进行植被指数的差异分析,确定火场位置,定量化处理对多源遥感数据进行分析比较
基于多源遥感数据的森林火灾火点监测-13607字.docx