文库 机械管理与电气自动化 车辆工程

大学生方程式赛车结构设计——车架系统刚度和强度分析-12665字.pdf

2022及前全 PDF   59页   下载0   2026-01-10   浏览5   收藏0   点赞0   评分-   20516字   20.00
温馨提示:当前文档最多只能预览 10 页,若文档总页数超出了 10 页,请下载原文档以浏览全部内容。
大学生方程式赛车结构设计——车架系统刚度和强度分析-12665字.pdf 第1页
大学生方程式赛车结构设计——车架系统刚度和强度分析-12665字.pdf 第2页
大学生方程式赛车结构设计——车架系统刚度和强度分析-12665字.pdf 第3页
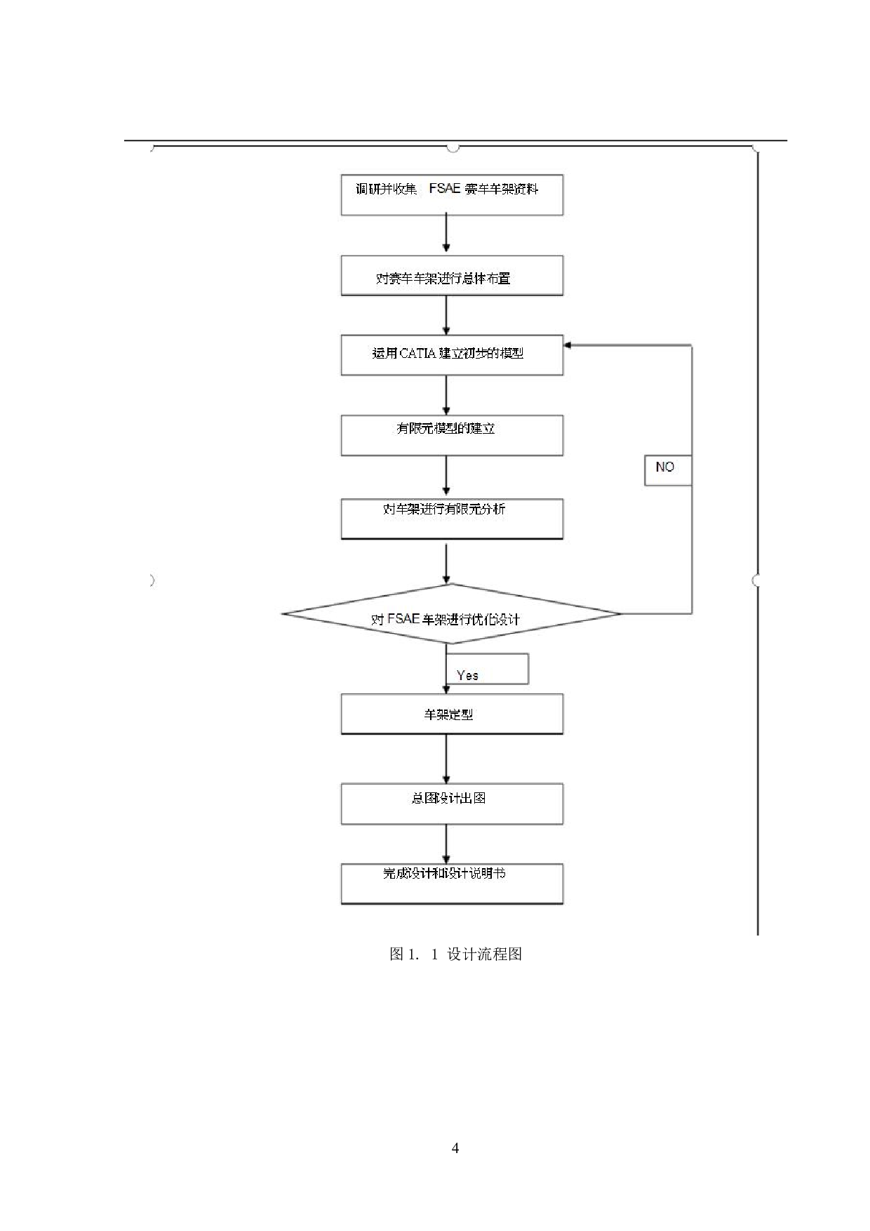
大学生方程式赛车结构设计——车架系统刚度和强度分析-12665字.pdf 第4页
大学生方程式赛车结构设计——车架系统刚度和强度分析-12665字.pdf 第5页
大学生方程式赛车结构设计——车架系统刚度和强度分析-12665字.pdf 第6页
大学生方程式赛车结构设计——车架系统刚度和强度分析-12665字.pdf 第7页
大学生方程式赛车结构设计——车架系统刚度和强度分析-12665字.pdf 第8页
大学生方程式赛车结构设计——车架系统刚度和强度分析-12665字.pdf 第9页
大学生方程式赛车结构设计——车架系统刚度和强度分析-12665字.pdf 第10页
剩余49页未读, 下载浏览全部
大学生方程式赛车结构设计——车架系统刚度和强度分析 摘要 随着中国汽车工业的不断发展,国内涌现出优秀大学生对方程式赛车的热爱,通秉 承着在做中学的理念,热爱赛车的大学生们借助大学生方程式赛车比赛,获得了优异的 成绩。通过这个大学生方程式的赛车车架的设计、分析和优化,赛车在正常行驶中具有 良好的行驶平顺性、操纵稳定性和传动特性,提高了车辆的行驶性能。本文以北京理工 大学珠海学院最初的方程式赛车为研究对象。在FSE赛车架设计中,使用三维软件CATIA 构建了车架结构模型,再通过ANSYSWorkbench静力学模块对其进行强度、
大学生方程式赛车结构设计——车架系统刚度和强度分析-12665字.pdf