文库 建筑与工程管理 土木工程

338国道某段衡安桥设计-13975字.docx

2022及前全 DOCX   78页   下载0   2026-01-10   浏览6   收藏0   点赞0   评分-   22904字   20.00
温馨提示:当前文档最多只能预览 10 页,若文档总页数超出了 10 页,请下载原文档以浏览全部内容。
338国道某段衡安桥设计-13975字.docx 第1页
338国道某段衡安桥设计-13975字.docx 第2页
338国道某段衡安桥设计-13975字.docx 第3页
338国道某段衡安桥设计-13975字.docx 第4页
338国道某段衡安桥设计-13975字.docx 第5页
338国道某段衡安桥设计-13975字.docx 第6页
338国道某段衡安桥设计-13975字.docx 第7页
338国道某段衡安桥设计-13975字.docx 第8页
338国道某段衡安桥设计-13975字.docx 第9页
338国道某段衡安桥设计-13975字.docx 第10页
剩余68页未读, 下载浏览全部
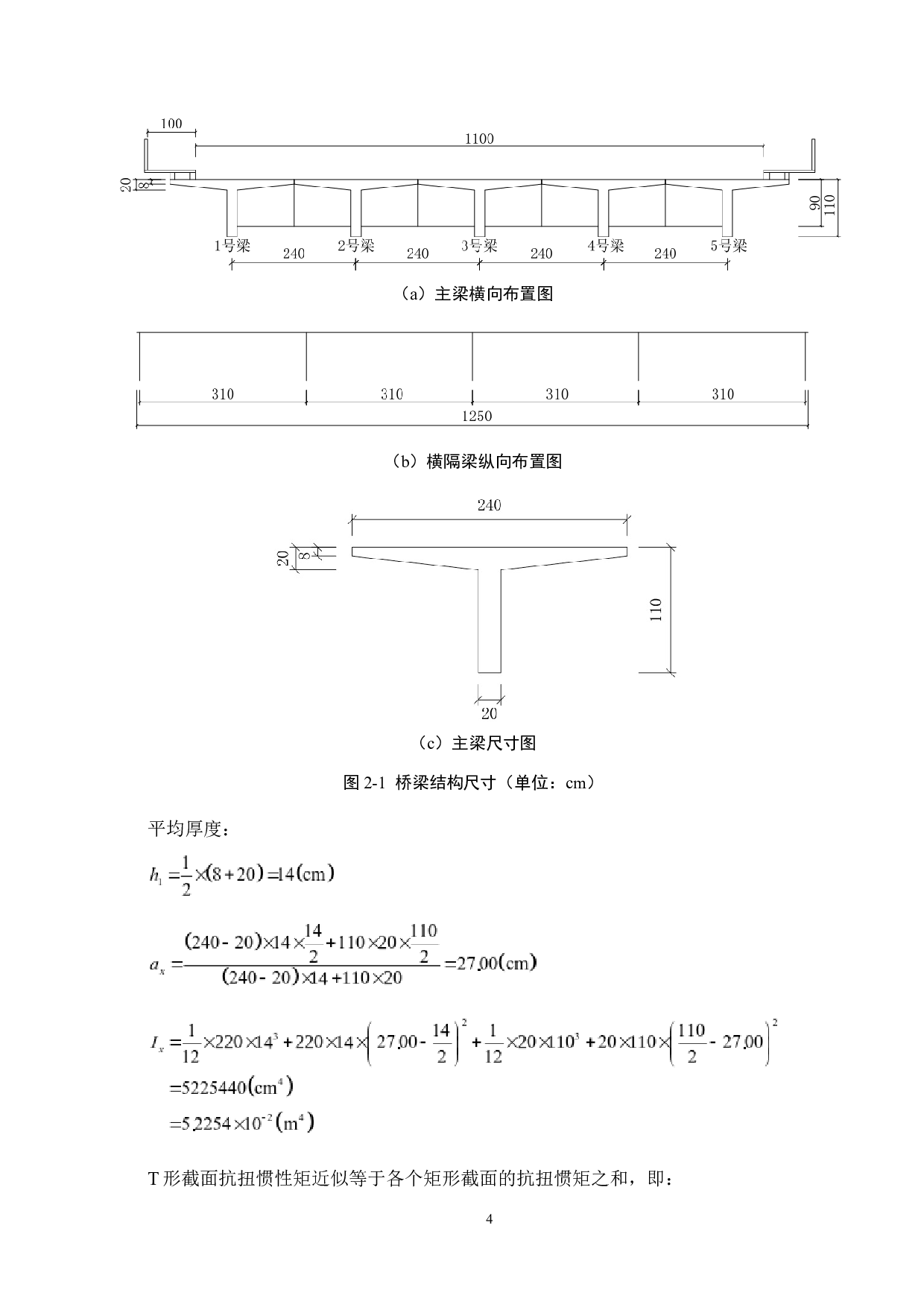
摘 要 中国的 桥梁 建设 拥有着无比悠久的历史 , 它 几乎贯穿了 中国整个人类历史发展的进程 。 桥梁工程建设 在促进我国经济的繁荣发展、 加强人文交流和贸易的往来 拥有着不可或缺的地位 。 在中国的建设中,使用桥梁工程这个载体来做到“桥梁强国”建设目标,高质量与创新就是两大助力。 本毕业设计题目为《 338 国道某段衡安桥设计 》,所 要求 设计的是 桥长为 26m 。 上部结构采用 T 形梁和 沥青混凝土铺装;下部结构采用重力式桥墩、重力式 U 形 桥台和 钻孔灌注 群 桩基。 把 26m 的大跨径桥 梁 分为 两跨 来计算 , 那么桥梁
338国道某段衡安桥设计-13975字.docx